Инструкция по эксплуатации поршневых доильных аппаратов «ДОЮШКА»
Перед тем как приступить к эксплуатации изделия необходимо внимательно изучить данное руководство. Обратите внимание на электробезопасность! Не прокладывайте электролинию по полу коровника. Обеспечите подвод шнура электропитания согласно схеме на рисунке 1.
Рис. 1
Зафиксируйте подвижную часть кабеля к металлическим кольцам с помощью изоляционной ленты, проденьте стальную проволоку либо трос сквозь кольца и зафиксируйте его под крышей коровника, это позволит вам свободно и удобно перемещать доильную установку.
1. Назначение изделия
Поршневая доильная установка «ДОЮШКА» надежна, экономична и проста в эксплуатации. Данный агрегат широко применяется для машинного доения коров в частных хозяйствах и небольших животноводческих фермах. Для достижения стандартов в области гигиены и качества молока, получения максимальной отдачи от коровы и предотвращения мастита и иных болезней, пользователю необходимо обладать определенными знаниями о механизме работы доильной установки, понять, как ее правильно использовать, для чего необходимо ВНИМАТЕЛЬНО ОЗНАКОМИТЬСЯ С ИНСТРУКЦИЕЙ!
2. Устройство и принцип работы
Рис. 2
Доильная установка состоит из опорной рамы – 1 бидона для молока – 2, доильной аппаратуры – 3, вакуумметра – 4, поршневого вакуумного насоса – 5, редуктора и передаточного механизма – 6, электродвигателя – 7.
Бидон для молока имеет съемную крышку. В центре крышки бидона расположен тройник с клапаном (внутри которого стальной шарик Ø 11 мм), верхняя трубка тройника закрыта уплотнительным кольцом и пластмассовым винтом-ограничителем. Боковая трубка тройника Ø 14 мм соединяется с патрубком на крышке вакуумного насоса.
Боковая трубка тройника Ø 9 мм соединена с длинным воздуховодом, создающим пульсацию в доильной аппаратуре. Кроме вентиля тройника на крышке бидона есть еще две трубки. Трубка Ø 14 это вход молокопровода, которая соединяется шлангом с выходом молокоприемника доильной аппаратуры. Трубка Ø 9 мм соединяется шлангом с вакуумметром. (см. монтажную схему 1)
Монтажная схема №1
Ведомость деталей и частей на монтажной схеме №1
1 — Доильная аппаратура, 2 — Ложный сосок, 3 — Вакуумный шланг, 4 — Молочный шланг, 5 — Крышка бидона, 6 — Стальной шарик клапана Ø11, 7 — Уплотнительное кольцо, 8 — Пластмассовый винт ограничитель, 9 — Вакуумметр, 10 — Шланговое соединение вакуумметра, 11 — Патрубок вакуумметра, 12 — Прокладка крышки бидона для молока, 13 — Бидон для молока 22,6 л.
Доильная аппаратура состоит из молокоприемника, регулятора вакуума и четырех стаканов. Стакан состоит из корпуса, изготовленного из нержавеющей стали, вкладыша сосковой резины, прозрачной вставки, молочного патрубка и вакуумного патрубка. На торце молокоприемника установлен винт-корректор, для регулировки величины разряжения в доильной аппаратуре. Молокоприемник соединяется с доильными стаканами с помощью молочных патрубков в которых имеются прозрачные вставки для того чтобы контролировать процесс доения. Пульсация в доильные стаканы подается через вакуумные патрубки которые через разветвитель соединяются длинным шлангом с тройником на крышке бидона.
Неправильное соединения патрубков в доильной аппаратуре приведет к неправильной работе доильной установки, обратите внимание на правильность сборки и герметичность соединений.
Поршневой вакуумный насос состоит из крышки, корпуса, подошвы насоса, поршня (состоящего из основания, упругой пружины, чаши из бычьей кожи и прижимной гайки), внешнего шатуна, горизонтальной оси, штока, кривошипа и т.д. Крышка и подошва насоса отлиты из алюминия, корпус представляет собой пластиковую трубу. Основной рабочий элемент поршня — это чаша из бычьей кожи, внутри которой установлена пружина для обеспечения плотного прилегания поршня к стенкам корпуса насоса. Для обеспечения минимального коэффициента трения поршня о корпус и достижения лучшей герметичности системы в процессе работы, необходимо периодически смазывать кожаную часть поршня маслом.
Строение насоса представлено на монтажной схеме 2. Насос приводится в движение с помощью электродвигателя. Двигатель через ременную передачу соединен с редуктором, который в свою очередь приводит в движение шатун кривошипа, обеспечивая возвратно поступательное движение поршня. Передаточное число большой и малой шестерни редуктора обеспечивает необходимые обороты при которых частота пульсации достигает 64 раза в минуту. Сбоку на корпусе редуктора расположено отверстие для заливки масла, закрытое болтом.
• Возникновение вакуума
Поршень насоса совершает возвратно-поступательные движения в корпусе насоса, при движении корпуса вниз создается разряжение, при движении вверх открывается шариковый клапан в крышке насоса и воздух из системы выходит в атмосферу. Данные два движения формируют пульсацию в доильной аппаратуре.
• Процесс работы
Доение: Когда поршень движется вниз, шариковый клапан на насосе закрыт, а шариковый клапан на крышке бидона открыт, в закрытом бидоне и доильной аппаратуре формируется вакуум. Одинаковое давление во внутреннем корпусе и в камере между внутренним и внешним корпусом стакана обеспечивает открытие внутреннего корпуса стакана и высасывание молока из соска. Молоко поступает в молокоприемник и всасывается в бидон.
Рис. 3 Рис. 4
Отдых: Когда поршень движется вверх (см. рис.4), шариковый клапан на крышке насоса открыт, а клапан на крышке бидона закрыт. В это время воздух входит в камеру между внешним корпусом стакана и вкладышем, а в замкнутом бидоне и внутреннем пространстве стакана формируется вакуум. Возникает разница давлений внутри стакана и в камере между внешним корпусам и вкладышем стакана. Разница давлений обеспечивает закрытие вкладыша и течение молока прекращается. В процессе доения величина разряжения на вакуумметре должна быть 0,04 – 0,045 МПа.
3. Указания мер безопасности
3.1 Монтаж электропроводки и подключение должно осуществляться квалифицированным специалистом. Электрическую сеть помещения к которой подключается изделие, рекомендуется оборудовать устройством защитного отключения.
3.2 Ремонт и техническое обслуживание доильного агрегата производите только после отключения агрегата от электрической сети.
4. Подготовка изделия к работе.
Схема электрическая принципиальная
M — однофазный конденсаторный электродвигатель L – фазный провод N – нулевой провод РЕ – нулевой защитный провод XP – вилка штепсельная двухполюсная с заземляющим контактом XS – розетка штепсельная двухполюсная с заземляющим контактом S1 – выключатель F – предохранитель 8А
4.1 До включения доильной установки убедитесь, что напряжение сети соответствует напряжению, требуемому по данной инструкции.
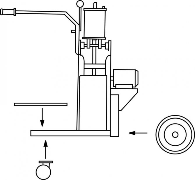
4.2 Соберите доильную установку из транспортировочного состояния в рабочее состояние. Для этого вам необходимо (рис.5) открутить болты, крепящие подставку бидона, вам откроется посадочное место для установки рулевого колеса, прикрутите его четырьмя болтами вставив их снизу (для того чтобы выступающая часть болта не мешала повороту колеса) затем установите подставку бидона на прежнее место и прикрутите ее. Далее прикрутите на два болта передние несущие колеса.
4.3 Соедините шланги доильной аппаратуры согласно монтажной схеме №1.
Рис.5
4.4 После первого включения машина должна отработать 3-5 минут вхолостую. Если за это время не возникло посторонних шумов и ненормальных звуков в движущихся деталях механизма, то можно приступать к промывке доильной аппаратуры.
4.5 Перед первым доением необходимо осуществить промывку доильной аппаратуры согласно пункту 8 настоящей инструкции.
5. Эксплуатация доильной установки.
Описание аппарата «Доярушка» УДШ 001
Доильная установка компактная. Позволяет за 1 ч обслужить 10 коров. Для большей мобильности предусмотрена опорная рама на колёсах. Бидон для молока устанавливают на площадку основной рамы. Его объём – 25 л. Сделан он из нержавеющей стали. На рукоятке рамы укрепляется доильный аппарат. Он состоит из 4 стаканов. Внутри резиновая манжета. Мотор находится на площадке около колёс, на противоположной стороне от бидона. Конструкция предохраняет попадание масла в молочную ёмкость или на стаканы.
Крышка бидона имеет выход для молочной трубки, по которой молоко поступает от коровы. Она сделана из прозрачного пластика. Вакуумный шланг подсоединяется к крышке бидона через штуцер. Он чёрного цвета, изготовлен из резины. При работе доильного аппарата крышка должна быть плотно закрыта, поэтому между бидоном и крышкой находится резиновая прокладка.
Вес установки 54 кг. Двигатель работает от электросети 220 В. Тип мотора масленый. Мощность 0,55 кВт. Рабочее давление 40-50 кПа: для измерения предусмотрен вакуумметр. Аппарат «Доярочка» оборудована поршневым насосом. Он создаёт пульсацию 64 импульса в 1 мин. Комплект не предусматривает отдельный пульсатор и ресивер. Процесс доения двухтактный: сжимание соска и сцеживания молока. Доение не очень привычно для коров. Режим отличается от естественного кормления телёнка или ручной дойки.
Коров необходимо приучать к аппарату, но отзывы фермеров говорят, что животные быстро привыкают к машинной дойке. Доильный аппарат для коров «Доярушка» сцеживает всё молоко, полностью освобождает вымя. Оборудование обслуживает 1 оператор.
ДОЕНИЕ КОРОВ
5.1 После включения установки необходимо расположить доильную аппаратуру так чтобы металлический разветвитель вакуума для пульсации находился выше, чем молокоприемник. Стаканы свисают вниз. Стрелка вакуумметра начнет движение. ВНИМАНИЕ: На доильной аппаратуре крючки для подвески на ручку с двух сторон (второй крючок для промывки) если расположить доильную аппаратуру патрубками коллектора книзу, то вакуум набираться не будет. Спустя минуту величина разряжения на вакуумметре должна достигнуть 0,04-0,045 МПа. Если величина разряжения слишком высокая или низкая, необходимо корректировать ее с помощью регулировочного клапана на молокоприемнике до значения 0,04-0,045 МПа.
5.2 Перед началом доения необходимо вымыть вымя теплой водой и сделать массаж 2-3 раза сжав рукой каждый сосок, затем можно установить доильные стаканы и приступить к доению, как показано на рисунках 6 и 7.
Рис. 6 Рис. 7
5.3 Для подключения доильной аппаратуры встаньте сбоку коровы, одной рукой возьмите молокоприемник так чтобы вакуумные патрубки и их металлический разветвитель находились сверху, а стаканы свободно свисали вниз. Другой рукой вы должны быстро надеть стаканы на соски по очереди один за другим как показано на рисунке 8. Во время операции лучше держать молочный патрубок одеваемого стакана с S-изгибом чтобы предотвратить попадание атмосферы в стакан.
Рис. 8 Рис. 9
5.4 Доение должно проистекать при стабильном вакууме, как показано на рисунке 9. В это время наблюдайте за истечением молока через прозрачные части молочных патрубков. При окончании доения, оператор может вручную нажать вниз на молокоприемник, для улучшения процесса додаивания, как показано на рисунке 10.
Рис. 10
Затем одной рукой придерживая молокоприемник необходимо сбросить вакуум открутив регулятор вакуума, чтобы доильные стаканы беспрепятственно снялись с вымени, как показано на рисунке 11. Затем необходимо обработать соски дезинфицирующей жидкостью, как показано на рисунке 12.
Рис. 11 Рис. 12
5.5 Сняв доильную аппаратуру, подвесьте ее за крючок на ручку вакуумной установки, откройте крышку бидона, перелейте молоко и можно приступать к доению следующей коровы.
ДОЕНИЕ КОЗ, ОВЕЦ, ЛОШАДЕЙ
5.6 Для набора вакуумметрического давления системой при использовании доильной аппаратуры для коз нужно переключатели на доильных стаканах привести в нижнее (углубленное положение, при котором металлическая шайба внутри полностью перекрывает попадание воздуха из атмосферы) при включении аппарата убедитесь, что все шайбы присосались иначе воздух будет подсасывать постоянно и аппарат на наберет нужное разряжение. Рекомендуем использовать 2 ложных соска в качестве пробок для исключения попадания воздуха из атмосферы в систему при наборе вакуума перед доением.
5.7 Для доения коз достаточно величины разряжения 0,35-0,4 МПа, для регулировки вакуума используйте регулировочный винт на крышке бидона.
5.8 Перед одеванием доильного стакана на вымя нужно перевести выключатель в верхнее положение при котором металлическая шайба отсоединится от пластиковой плоскости и обеспечится «подача вакуума» затем незамедлительно одеть стакан на сосок животного при использовании ложных сосков — быстро извлечь ложный сосок и одеть стакан на сосок животного. Повторить операцию со вторым стаканом.
5.9 Для сброса вакуума в доильных стаканах при окончании доения нужно переключатели на доильных стаканах привести в нижнее положение, закрыв «подачу вакуума» либо сбросить общее вакуумметрическое давление в системе отключив насос и выкрутив регулировочный винт на крышке бидона.
6. Очистка и дезинфекция доильной установки
6.1 После окончания доения необходимо закрыть крышку бидона, смыть гряз с доильной аппаратуры чистой водой, как показано на рисунке 13. Вложить очищенную аппаратуру в ведро с горячей водой или дезинфицирующей жидкостью и запустить вакуумную установку. Промыть таким образом несколько раз доильную аппаратуру, шланги и бидон, в конце промыть все чистой водой для того чтобы смыть остатки дезинфицирующей жидкости, как показано на рис. 14.
Рис. 13 Рис. 14
6.2 Спустя неделю после использования доильной установки необходимо демонтировать молокоприемник, бидон и набор стаканов и щеткой полностью очистить их. Повторять данную операцию еженедельно.
7. Проверка, обслуживание и ремонт.
7.1 Каждые 750 часов работы вакуумной установки необходимо заменять смазочное масло в редукторе (0,4 кг нигрола №40)
7.2 Каждую неделю необходимо разбирать вакуумный насос, растягивать кожаную чашу поршня и смазывать маслом, для снижения трения и улучшения герметизации насоса. При сборке обратите внимание на правильность установки прокладки между корпусом насоса и крышкой.
7.3 Для увеличения срока службы сосковой резины желательно раз в месяц менять комплект вкладышей. Обезжирив и высушив обменный набор вкладышей, хранить его в тени, чтобы резина находилась в хорошем состоянии. По истечении месяца снова заменить комплекты вкладышей. Перед их монтажом необходимо убедиться нет ли на резине трещин, деформаций и других повреждений. Обнаружив данные явления необходимо заменить комплект на новый.
7.4 Периодически осматривайте шланги другие резиновые части установки, обнаружив трещины, заменяйте эти части.
8. Правила хранения
8.1 Транспортировку и хранение изделия осуществлять в индивидуальной таре.
8.2 Хранить агрегат следует в сухом помещении.
8.3 Изделие не содержит драг металлов, вредных веществ и компонентов, и подлежит утилизации после окончания срока эксплуатации организацией «Вторчермет».
9. Определение неисправностей и методы их исключения
| Описание неисправности | Причина неисправностей | Методы исключения |
| Возникновение необычного звука | a. ослабление соединений между двигающимися деталями и частями
б. Нет смазки между двигающимися частями |
a. Проверить и плотно протянуть соединения, между двигающимися частями
б. Добавить масло или смазку в нужное место |
| Величина разряжения слишком низкая или ее нет | а. Слабое прижатие поршня, отсутствие смазки и утечка воздуха между поршнем и корпусом насоса
б. Утечка воздуха ввиду неправильного прижатия уплотнительного кольца на верхней крышке поршневого насоса в. Доильная аппаратура и шланги имеют трещины, плохое уплотнение и утечка воздуха в местах соединения, либо слабое уплотнение прокладки крышки бидона г. Износ резиновой прокладки регулировочного клапана либо клапана на крышке бидона, количество утечки воздуха слишком большое д. буксование двигателя, скорости оборотов не хватает для обеспечения нормальной пульсации, частота пульсации низкая е. Пожелтение стальной дроби клапана на крышке бидона для молока и крышке поршневого насоса |
a. Открыть верхнюю крышку поршневого насоса, снять (банку) корпус насоса, руками растягивать в стороны края чаши из бычьей кожи, смазать ее маслом и запустить насос на холостом ходу на 3-5 минут
б. Открыть верхнюю крышку поршневого насоса, намазать немного масла на уплотнительное кольцо, установить его на точное место для обеспечения герметичного уплотнения между прокладкой и верхней крышкой банки в. Поверить резиновые части доильной аппаратуры и шланги на наличие повреждений, обнаружив трещины, вовремя заменить на новые. Проверить места соединений и при наличии утечки установить трубку более плотно чтобы ликвидировать утечку г. Заменить новой деталью д. Проверить электродвигатель и вовремя исключить неисправности, сморите методы приведенные ниже е. Демонтировать стальную дробь, отчистить ржавчину на ней и в теле клапана, установить шарик на место |
| Буксование электродвигателя | a. величина разрежения и нагрузка на двигатель слишком большая
б. Ослабление ремня в. Попадание масла на шкивы и ремень |
a. регулировать приемный клапан, впустить воздух, чтобы величина разрежения достигла стандарта
б. Натянуть ремень путем перемещения основания двигателя. в. Протереть и просушить ремень и шкивы, смазать ремень веществом повышающим трение. |
| Величина разряжения слишком высокая | a. неисправность регулировочного клапана | a. вывернуть регулировочный клапан, прочистить вырез на резьбе клапана и установить на место |
Монтажная схема №2
Ведомость деталей и частей на монтажной схеме №2
14 — Редуктор, 15 — Шатун, 16 — Гайка М16, 17 — Верхняя и нижняя прижимная планка и блок-прокладка, 18 — Кольцевая пружина, 19 — Поршень (Чаша из бычьей кожи), 20 — Прижимная букса, 21 — стальной шарик клапана Ø12, 22 — Крышка насоса, 23 — Прокладка крышки насоса, 24 — Прижим крышки насоса, 25 — Корпус насоса, 26 — Основание насоса, 27 — Прижимная гайка, 28 — Втулка шатуна, 29 — Втулка горизонтальной оси, 30 — Горизонтальная ось, 31 — Соединение кривошипа и шатуна, 32 — Ограничительная шайба, 33 — Болт М5*15, 34 -Подшипник №203, 35 — Кривошип.
ᐉ Доильный аппарат Доюшка: иструкция и характеристики – zooon.ru
В тяжелом процессе доения коров, доильный аппарат «Доюшка» эффективно зарекомендовал себя и стал популярным среди фермеров.
Хозяйство, приносящее хорошую прибыль, должно иметь современное оборудование для ухода за скотиной и доения телок.
Автоматизированные системы необходимы на ферме, так как они помогают сократить время обслуживания животных, ускорить процесс получения молока у большого количества буренок. Данная статья расскажет о возможностях доильной установки.
История создания
История создания доильного аппарата уходит своими корнями далеко в прошлое. Считается, что еще древние египтяне делали какие-то попытки создать устройства для облегчения доения.
Первая же установка для доения была разработана и применена в 1851 году, но этот опыт нельзя было назвать удачным.
В Англии даже было объявлено вознаграждение для того, кто сумеет сконструировать безопасную машину для доения.
По-настоящему успешная машина была изобретена в Шотландии в конце 19 века. Она обладала вакуумным насосом, который работал от парового двигателя. Только после создания этого чудо-устройства доение животных было автоматизировано. С начала 20 века устройство широко использовалось в молочной промышленности.
Доильные установки
Установка представляет собой комплект доильного оборудования, в который входят вакуумный насос с электроприводом, вакуумный баллон (ресивер), регулятор, трубопроводы и доильный аппарат, в количестве один, два или больше. Также имеются системы промывки и агрегаты первичной обработки полученного сырья.
Работа всех промышленных и бытовых установок основана на использовании вакуума. Вакуум создается при помощи насоса мембранного, роторного, центробежного или поршневого типа. Пульсатор служит для того, чтобы направлять вакуум в нужное время в соответствующие камеры стаканов, обеспечивая тем самым чередование тактов.
Принцип действия
Многие видели на экранах телевизора и вживую устройства, обладающие своеобразными стаканами и трубками, а также емкостями для сбора продукта. Так выглядит аппарат для машинного доения. Стаканы — это небольшие емкости из металла. Внутри находятся резиновые прокладки. В стаканах создается вакуум в процессе работы, и под его воздействием молоко высасывается из вымени животного.
Принцип действия тот же самый, когда вымя сосет теленок: идет стимуляция нервных рецепторов в сосках, что провоцирует резкий выброс окситоцина. Этот гормон необходим для сокращений мышечных волокон сосков. Результат — поступление молока наружу. Если с животным работать спокойно и провести правильную предварительную подготовку, то можно добиться наилучшего результата в плане продуктивности.
Важно! Для того чтобы молоко начало поступать в соски, необходимо всего лишь около 15 секунд стимуляции коровы.
Описание устройства
Аппараты машинного доения могут быть разными. Все они обладают некоторыми обязательными устройствами:
- Рама для фиксации компонентов. Иногда рама оснащается колесами и рукоятками для передвижения.
- Емкости для сбора молока.
- Вакуумный насос, работающий от электрического двигателя.
- Коллектор.
- Стаканы, надеваемые на соски. Каждый из них состоит металлического или пластикового корпуса, внутри — резиновые или силиконовые вставки, обеспечивающие животному комфортное соприкосновение.
- Молокопроводы. К каждому стакану их идет два: по первому молоко уходит в емкость, а второй необходим для создания вакуума в стакане и выработки пульсации.
Принцип работы аппарата
При включении в сеть на панели нужно нажать кнопку включения, что позволит запустить двигатель.
Энергия, вырабатываемая мотором, передаётся через редуктор насосному оборудованию, поршень начинает перемещаться вверх и вниз, соблюдая определённую амплитуду.
В молокосборнике создаётся вакуум, после чего в стаканы, зафиксированные на сосках вымени, начинает поступать молоко. Бидон постепенно наполняется.
Внимание! Важно контролировать степень наполнения ёмкости для молока.
После использования аппарата питание отключают. Молокосборник и стаканы тщательно моют. Для чистки оборудования применяют ёршики. Производитель рекомендует по мере необходимости смазывать подвижные детали агрегата, чтобы продлить срок его службы.
Молокосборник после использования тщательно моют
Подготовка к доению
Аппарат машинного доения прочно вошел в обиход на всех крупных фермах и в разы облегчил человеческий труд. Современные устройства надежны, что позволяет вести дойку по всем правилам.
Для того чтобы процесс доения прошел гладко, необходимо постепенно и аккуратно приучить животное к новому устройству. Также не следует забывать о некоторых принципах работы с коровами:
- Перед работой всегда важно проверить состояние оборудования, позаботиться о чистой одежде, не забывать мыть руки.
- С животным всегда, и особенно при машинном доении, нужно обращаться уверенно, осторожно и спокойно. Категорически запрещено повышать голос.
- Немаловажно почистить вымя перед работой. Его можно просто очистить, если оно не сильно загрязнено, или помыть теплой водой. Соски всегда протираются насухо. Надо следить, чтобы на сосках не появлялись мелкие трещины и ранки. Если это случается, их своевременно залечивают.
- Перед тем как начать присоединение аппарата к вымени, рекомендуется провести небольшой массаж сосков. Это благотворно влияет на выработку молока.
- Если аппарат предназначен для нескольких коров, то пространство вокруг сосков необходимо дезинфицировать. Только так можно предотвратить передачу микробов и инфекции от одного животного к другому. Если в стаде есть больная корова, ее доят в последнюю очередь.
- Если животных только начали приучать к машинному доению, очень важен строгий режим. Так они быстрее привыкнут к новому обращению и станут воспринимать ее спокойно.
- Когда животное обладает крепким здоровьем, его молоко при выходе наружу стерильно. Важно сохранить его таковым, но для этого необходимо поддерживать доильное оборудование в чистоте. Это означает, что после каждого применения его тщательно моют.
- Для того чтобы молоко не утратило своей свежести, сразу же после сдаивания его рекомендуется охладить до +2-4 градусов. Считается, что чем быстрее удалось молоко охладить, тем лучше будут его вкусовые качества.
- После каждой дойки соски смазываются смягчающими мазями, которые применяются в животноводстве. Вредно дополнительное доение коров, это может повредить вымя. Как только струя молока заметно уменьшается, аппарат отключают.
Дойка при помощи доильной системы
Опытный фермер перед дойкой корову обязательно подготовит, то есть вымоет вымя теплой водой и проведет небольшой массаж, для лучшего оттока молока. Первую порцию продукта обычно сцеживают в отдельную посуду, после чего можно использовать доильную установку «Доюшка». Доярка должна находиться всегда сбоку от животного.
Стаканы для доения помещают на соски, следя, чтобы разветвитель из металла занимал положение сверху. В стаканах из нержавейки, надетых на вымя, должен сохраняться вакуум, который можно контролировать через прозрачное окошко. Емкость для приема молока необходимо держать рукой. В конце доения, чтобы сбросить вакуум, нужно открутить ручку регулятора.
Разновидности и характеристики моделей Доюшки
В продаже имеется несколько моделей доильного аппарата Доюшка. Они отличаются характеристиками. Но ряд качеств у всех моделей совпадает.
Фото доильного аппарата «Доюшка» 1КС для коз
| Характеристика | Показатель |
| Двигатель | Асинхронный |
| Насос | Поршневой |
| Напряжение | 220 В |
| Мощность | 550 Ватт |
| Молокосборник | 22,6 л |
| Давление | 40-50 кПа |
А теперь можно рассмотреть подробней отдельные модели для коров и их уникальные отличия. Если у аппарата отличаются характеристики, представленные выше, они также будут указаны.
- «Доюшка» Эконом 1Р – аппарат способный обслужить 3-4 коровы в час. Пульсатор попарного типа доения. Частота пульсации – 64/мин. Вес конструкции 27 кг. Цена – 16100 рублей.
- «Доюшка» Эконом 1С также обслуживает 3-4 коровы в час. Пульсатор попарного типа доения. Частота пульсации может выставляться от 64 до 74 в минуту. Вес аппарата – 25 кг, цена – 17200 руб.
- «Доюшка» 1Р – более продуктивная модель. Этот аппарат обслуживает 6-8 коров в час. По другим характеристикам он похож на предыдущую модель. Вес – 52 кг, цена – 19100 руб.
- «Доюшка» 1С за час может раздоить 6-8 коров. По показателям и характеристикам такой же, как и «Доюшка» 1Р, но стоимость 20300 руб.
- «Доюшка» Мини 1АР может за час обслужить 8-10 коров. Бидон в данном случае алюминиевый, 20 л. Вес аппарата – 47 кг, цена 24200 руб.
- «Доюшка» Эконом 1КС используется для коз, овец, кобылиц. Он обслуживает за час 5-6 коз. Пульсатор попарного типа доения. Частота пульсации – 64-74/мин. Бидон из нержавеющей стали, объемом 22,6 л. Вес – 25 кг, цена 17500 руб.
- «Доюшка» 1КС для коз – аналог предыдущего варианта, только больше – 52 кг. За час раздаивает 8-10 коз. Цена – 20600 руб.
- «Доюшка» Тандем 2С обслуживает сразу 2 коровы одновременно. За час производительность – 16-20 коров. Этот аппарат мощностью 1,1 кВт. Бидонов у него два по 22,6 л, из нержавейки. Вес – 75 кг, цена – 33000 руб.
- «Доюшка» Мини АР для коров, раздаивает до 8-10 самок в час. Бидон алюминиевый, объемом 20 л. Вес – 47 кг, цена – 27000 руб.
- «Доюшка» Мини 1СК раздаивает до 10 коз в час. Показатели все те же, только бидон объемом 25 л, вес 47 кг и цена 30400 руб.
Доильный аппарат Доюшка идеально подойдет для небольшого хозяйства или даже крупной фермы. Он простой в обслуживании и использовании, хорошо работает, стоит не дорого. Такое оборудование позволяет экономить время, тем более что доить коров, коз или овец вручную не просто, особенно, когда поголовье немаленькое.
Инструкция по обслуживанию аппарата «Доюшка»
Оборудование прослужит долго, если за ним ухаживать и вовремя проводить профилактические мероприятия. Для каждого элемента предназначен определённый срок выработки.
- Производитель указывает, что через каждые 750 ч, приблизительно через год работы мотора, в редукторе необходимо менять масло. Используется «Никрол» №40 объёмом 0,4 кг.
- 1 раз в неделю разбирают вакуумный насос. Поршень смазывают, растягивают кожаную манжету. При необходимости её меняют. Проверяют ход поршня и герметизацию цилиндра. Закрывают корпус крышкой: необходимо проверить состояние герметизирующей прокладки.
- 1 раз в месяц осматривают резиновый вкладыш в молочном коллекторе. При появлении трещин на поверхности резины или при деформации комплект вкладышей меняют. Комплект приобретают у производителя. Вкладыши обезжиривают и хранят в тёмном месте, чтобы ультрафиолет не разрушил резину. Перед использованием их промывают мыльным раствором, дезинфицируют, вставляют в молочный коллектор.
- Постоянно осматривают вакуумную и молочную магистрали. При наличии трещин, их необходимо менять.
Хранят оборудование в помещении с пониженным процентом влажности. Его не оставляют в коровнике, где содержатся животные. Многие владельцы небольших хозяйств используют доильный аппарат для коров «Доюшка».
Отзывы говорят о том, что работает он качественно и полностью освобождает вымя от молока. Агрегат выполнен из пищевой стали, каучука и пластика. Материалы не содержат вредных для здоровья человека веществ.











